|
::: ÇÏÀºÀüÀÚ Ä¿³ØÅÍ Àü¹®À¯Åë¾÷ü :::
|
++++ ½Å¼±ÇÑ È¯°æÀ» ¿©´Â±â¾÷ »ïÁø»ó»ç ++++++++
|
 Home > Á¦Ç°Á¤º¸> MSÄ¿³ØÅÍ |
|
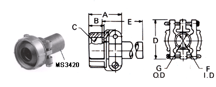
Telescoping Bushing
MS3420
|
|
| (mm)
| Part NO. |
Shell Size |
A
±0.79 |
B
±0.41 |
C
Thread (-2B) |
D
±0.79 |
E
±0.8 |
ø F
±0.41 |
ø G |
|
MS 3057 |
MS 3420 |
Min |
Max |
|
3A |
3 |
8S, 10S |
20.62 |
10.31 |
1/2-28 UNEF |
20.62 |
73.0 |
3.30 |
2.59 |
6.35 |
|
4A |
4 |
10SL, 12S, 12 |
¡¨ |
¡¨ |
5/8-24 UNEF |
22.23 |
69.8 |
5.59 |
3.56 |
7.92 |
|
6A |
6 |
14S, 14 |
22.23 |
¡¨ |
3/4-20 UNEF |
26.97 |
66.7 |
7.92 |
4.95 |
11.13 |
|
8A |
8 |
16S, 16 |
23.83 |
¡¨ |
7/8-20 UNEF |
29.36 |
63.5 |
11.10 |
6.48 |
14.27 |
|
10A |
10 |
18 |
¡¨ |
¡¨ |
1-20 UNEF |
31.75 |
60.3 |
14.27 |
7.24 |
15.88 |
|
12A |
12 |
20, 22 |
¡¨ |
¡¨ |
13/16-18 UNEF |
37.31 |
57.2 |
15.88 |
8.89 |
19.05 |
|
16A |
16 |
24, 28 |
26.19 |
¡¨ |
17/16-18 UNEF |
42.88 |
54.0 |
19.05 |
11.89 |
23.83 |
|
20A |
20 |
32 |
27.79 |
11.91 |
13/4-18 UNS |
51.59 |
50.8 |
23.80 |
16.87 |
31.75 |
|
24A |
24 |
36 |
29.36 |
13.49 |
2-18 UNS |
57.94 |
47.6 |
31.75 |
17.63 |
34.93 |
|
28A |
28 |
40 |
42.88 |
¡¨ |
21/4-16 UN |
68.28 |
44.4 |
34.92 |
23.14 |
41.28 |
|
32A |
32 |
44 |
44.45 |
15.09 |
21/2-16 UN |
74.63 |
41.3 |
41.25 |
- |
47.63 |
|
40A |
40 |
48 |
¡¨ |
16.66 |
3-16 UN |
88.90 |
38.1 |
47.60 |
- |
60.33 |
|
|
PROTECTIVE METAL CAP
MS25042
- FOR 06 AND 08 STYLE PLUGS
|
|
PROTECTIVE METAL CAP
MS25043
- FOR 00, 01 AND 02 STYLE RECEPTACLES
|
|
(mm)
|
Shell Cap
Size ¡¬ |
MS 25042 - (Cap for plug) |
MS 25043 - (Cap for Receptacle) |
A
Thread (-2B) |
b
Max |
ø C
Max |
ø D
+0.00
-0.37 |
A
Thread (-2B) |
b
Max |
ø C
Max |
ø D
+0.00
-0.37 |
|
8S |
1/2-28 UNEF |
16.66 |
14.27 |
4.22 |
1/2-28 UNEF |
11.91 |
17.48 |
3.81 |
|
10S, 10SL |
5/8-24 UNEF |
16.66 |
17.45 |
¡¨ |
5/8-24 UNEF |
¡¨ |
20.70 |
¡¨ |
|
12S, 12 |
3/4-20 UNEF |
21.44 |
20.62 |
¡¨ |
3/4-20 UNEF |
¡¨ |
25.40 |
¡¨ |
|
14S, 14 |
7/8-20 UNEF |
21.44 |
23.80 |
¡¨ |
7/8-20 UNEF |
¡¨ |
28.58 |
¡¨ |
|
16S, 16 |
1-20 UNEF |
21.44 |
26.97 |
¡¨ |
1-20 UNEF |
¡¨ |
30.18 |
¡¨ |
|
18 |
11/8-18 UNEF |
¡¨ |
30.15 |
¡¨ |
11/8-18 UNEF |
¡¨ |
34.13 |
¡¨ |
|
20 |
11/4-18 UNEF |
¡¨ |
33.32 |
5.0 |
11/4-18 UNEF |
¡¨ |
37.31 |
¡¨ |
|
22 |
13/8-18 UNEF |
¡¨ |
36.50 |
¡¨ |
13/8-18 UNEF |
¡¨ |
40.49 |
¡¨ |
|
24 |
11/2-18 UNEF |
¡¨ |
39.67 |
¡¨ |
11/2-18 UNEF |
¡¨ |
43.66 |
4.58 |
|
28 |
13/4-18 UNEF |
¡¨ |
46.02 |
¡¨ |
13/4-18 UNEF |
13.49 |
50.05 |
4.58 |
|
32 |
2-18 UNS |
¡¨ |
52.37 |
5.79 |
2-18 UNS |
¡¨ |
56.36 |
5.0 |
|
36 |
21/4-16 UN |
¡¨ |
58.72 |
¡¨ |
21/4-16 UN |
¡¨ |
62.71 |
5.0 |
|
40 |
21/2-16 UN |
¡¨ |
65.07 |
¡¨ |
21/2-16 UN |
¡¨ |
69.06 |
5.0 |
|
44
|
23/4-16 UN |
¡¨ |
71.42 |
¡¨ |
23/4-16 UN |
¡¨ |
75.41 |
5.0 |
|
48 |
3-16 UN |
¡¨ |
77.77 |
¡¨ |
3-16 UN |
¡¨ |
80.98 |
5.0 |
|
|
|